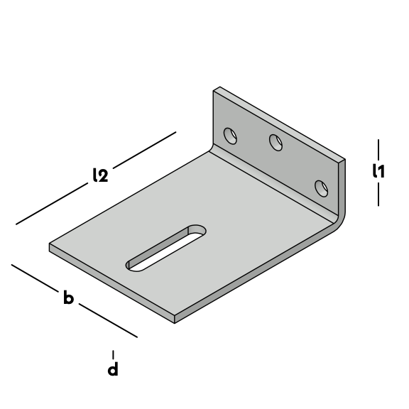
Heavy corner anchor that is primarily used for mounting elements and frames with a narrow cavity lath that is subjected to heavy wind loads. Corner anchors are simple to adjust due to the slotted hole.

You can use the products below to place or confirm the product correctly.