

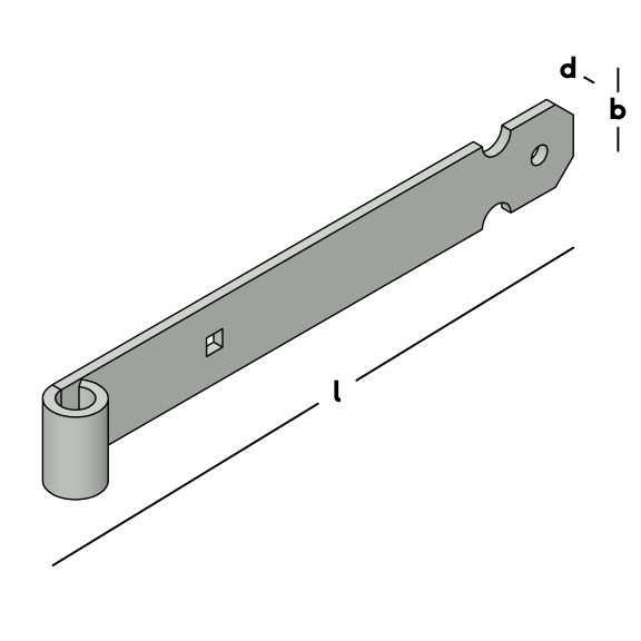
Baguette pour la fixation à charnière des portails et des portes. À utiliser en combinaison avec un pouce Ø 16mm.

Vous pouvez utiliser les produits ci-dessous pour placer ou confirmer le produit correctement.
Cliquez sur une variante de produit pour la sélectionner.