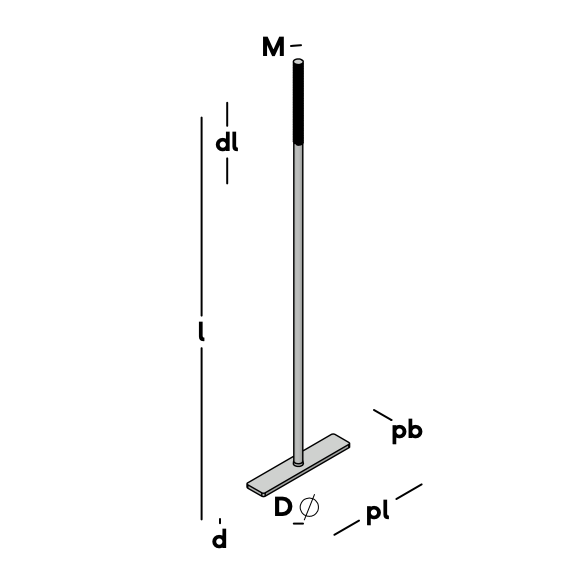
Anchor used to secure the wall panel (a wooden beam installed on the wall) to the load-bearing wall, so that the forces acting on the roof are transferred to the main structure.

You can use the products below to place or confirm the product correctly.